透平科技透平机工作原理
很多用户在搜索“透平科技透平机工作原理”时,最想知道的是能量到底怎样一步步被高效转化。成都透平科技给出的答案是:先把高温高压的蒸汽或燃气导入静叶栅,气流被加速并改变方向;随后高速气流冲击动叶栅,推动转子旋转;转子通过联轴器把机械功输出给发电机或泵。整个过程遵循热力学布雷顿循环或朗肯循环,效率可做到>85%。

(图片来源 *** ,侵删)
核心部件如何协同
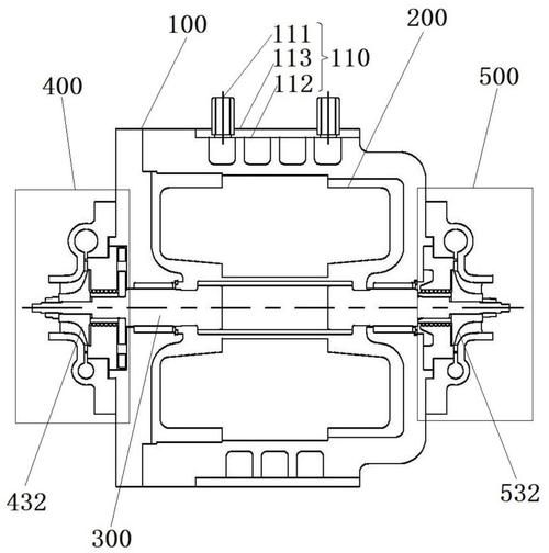
- 静叶栅:把压力能转化为动能,角度设计决定气流速度。
- 动叶栅:把动能转化为轴功,叶片型线采用三维弯扭设计,减少二次流损失。
- 转子:整体锻造,动平衡等级G2.5,临界转速高于工作转速20%以上。
- 密封系统:蜂窝+刷式双重密封,漏气量<0.5%。
透平科技透平机价格是多少
“透平科技透平机价格是多少”没有统一数字,但可以用三大维度快速估算:
维度一:功率等级
功率段 | 参考价格区间(万元) | 典型应用场景 |
---|---|---|
500 kW以下 | 80-120 | 小型余热发电 |
1-5 MW | 300-800 | 化工尾气发电 |
10-50 MW | 1500-4500 | 联合循环电站 |
维度二:配置选项
- 进气参数:温度每升高50 ℃,成本增加约8%。
- 材质等级:镍基合金叶片比不锈钢贵30%,但寿命翻倍。
- 控制系统:采用透平科技自研TCS-8000,比传统PLC方案贵15%,故障率降低60%。
维度三:交付模式
成都透平科技提供EP、EPC、EMC三种模式:
- EP(设备供货):只卖主机,价格更低,适合有安装能力的总包方。
- EPC(交钥匙):含土建、安装、调试,整体溢价12-18%。
- EMC(合同能源管理):零首付,按节能量分成,用户前期零投入。
如何根据工况选型不踩坑
自问:我的蒸汽流量只有18 t/h,选多大机型?
自答:先用热平衡计算,18 t/h、3.8 MPa、450 ℃的蒸汽可发电≈2.2 MW,选择透平科技TC-22系列即可,无需上3 MW机型,避免长期低负荷运行。
选型三步法
- 采集边界条件:流量、压力、温度、年运行小时。
- 软件模拟:透平科技提供在线计算器,输入参数即可输出预期发电量。
- 现场踏勘:确认蒸汽管线、冷却塔、电网接入点,避免后期追加投资。
维护成本与收益测算
透平科技给出的官方数据:

(图片来源 *** ,侵删)
- 大修周期:每6年或40000小时,费用≈设备价的8%。
- 易损件:密封片、轴承瓦,年均费用≈设备价的1.2%。
- 发电收益:以0.65元/kWh电价、年运行7500小时计算,2 MW机组年收益≈975万元。
用户最关心的五个细节问答
Q1:噪音能降到多少分贝?
A:透平科技采用双层隔音罩+消音弯头,距机体1米处≤75 dB(A)。
Q2:并网手续复杂吗?
A:≤6 MW项目走“分布式电源”绿色通道,资料齐全后电网公司15个工作日内批复。
Q3:冬季低负荷会不会喘振?
A:TC系列自带IGV可调导叶,更低可降至30%额定负荷稳定运行。
Q4:远程监控支持哪些协议?
A:Modbus-TCP、IEC104、OPC-UA,可直接接入DCS或云平台。
Q5:旧机组能否升级改造?
A:透平科技提供转子返厂喷涂+静叶3D打印方案,效率提升3-5%,投资回收期<2年。

(图片来源 *** ,侵删)
下单流程与交付周期
- 技术协议:3个工作日完成。
- 预付款:30%,合同生效。
- 设计冻结:45天。
- 工厂试车:FAT报告随货同行。
- 现场调试:7-10天,72小时连续运行后移交。
整周期:标准机型120-150天,高温机型180-210天。
评论列表